客服热线:021-80166303

盛屯矿业:摩根牵头的14家企业认购定增

   2022-08-09 腾讯新闻 311
核心提示:盛屯矿业8月8日公告,根据投资者申购报价情况,并严格按照认购邀请书中确定的发行价格、发行对象及获配股份数量的程序和规则,确

 

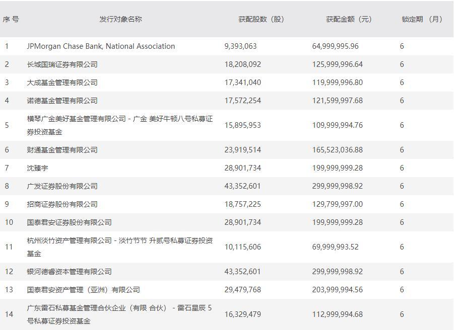
盛屯矿业8月8日公告,根据投资者申购报价情况,并严格按照认购邀请书中确定的发行价格、发行对象及获配股份数量的程序和规则,确定本次发行价格6.92元/股,发行股数3.21亿股,募集资金总额22.25亿元。其中16亿元将用于卡隆威项目,剩余资金将用于补充流动资金。本次发行对象最终确定为14家。

    

(责任编辑:小编)
下一篇:

慢性咽炎 食疗有方

上一篇:

盛屯矿业:摩根牵头的14家企业认购定增

反对 0 举报 0 收藏 0 打赏 0
免责声明
• 
本文仅代表作者个人观点,本站未对其内容进行核实,请读者仅做参考,如若文中涉及有违公德、触犯法律的内容,一经发现,立即删除,作者需自行承担相应责任。涉及到版权或其他问题,请及时联系我们